Model Railways

March 1972 1972

Ex-G.W.R. MINK A at Didcot, Berks after restoration by the London Group of the Great Western Society last year. No. 101720 was built in 1926. Photo G.W.S.
Hdg.jpg (199547 bytes)

CARRIAGE AND WAGON WHEELS

Developments In Protofour

A Report by the MODEL RAILWAY STUDY GROUP

 

J. S. Brook Smith
M. S. Cross
Dr. B. E. Weller

 

It was in the early sixties that correspondence and articles concerning an 'EEM' gauge experiment first appeared in the 'MRN' .

'Eighteen point Eight Millimetre' gauge was an attempt to provide a better proportioned track and finer proportioned wheels within the general framework of BRMSB modelling, and although it represented a marked improvement over standard BRMSB modelling, it was still a compromise, and not to scale in certain respects. When the EEM gauge experiment was abandoned and Protofour took its place, it was natural to assume that Protofour was simply BRMSB modelling with the rails pushed out to the correct gauge.

Let us make one thing clear right from the start; Protofour represents an entirely new approach to railway modelling, and it has no connection whatever with any previous system.

"P4 represents an entirely new approach to railway modelling"

Dwg1s.gif (1848 bytes)

Dwg2s.gif (1735 bytes)

Dwg3s.gif (1503 bytes)

1 Medium Tyre Section used on wagons and coaches, set out in BSS 3117.

2 Mansell wheel tyre and fixing.

3 Locomotive tyre shown in part section for comparison with (1) and (2).

Dwg4s.gif (1636 bytes)

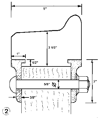
4 Railway Clearing House specification of axle for 12 and 14 ton wagons. This design is similar to other plain-bearing axles.

Dwg5s.gif (1916 bytes)

Dwg6s.gif (1876 bytes)

Dwg7s.gif (1715 bytes)

5 3ft 1½ in. diameter 8-spoked wheel for 8, 10,12, or l4ton wagons. Wrought iron or mild steel centre, with solid spokes. RCH 6 3ft 1½ in. diameter 9-spoked wheel for 20 ton tank wagons. Open spokes and wrought iron or mild steel centre. RCH. 7 3ft 1½ in. diameter 8-spoked wheel for 20 ton tank wagons. Solid spokes and cast steel centre. RCH.

Dwg8s.gif (2388 bytes)

Dwg9s.gif (2646 bytes)

8 3 ft 7½ in. diameter Mansell coach wheel. 16 teak segments bolted between iron plates and compressed by the steel tyre. 9 3ft 1½ in. diameter RCH disc centre and tyre. The 3 ft 7½ in. disc wheel is similar, but contains two 2in. diameter holes instead of three 6in. diameter holes.

"P4: every essential part has the same form as the prototype."

The essential difference between Protofour and other systems is that every Protofour item, from the ballast grains upward, has been made correctly to scale, and modified only where absolutely necessary. This means that every essential part has the same form as the prototype. In other systems, the dimensions have been arranged to accept an arbitrarily chosen wheel which invariably deviates from correct scale, and often has little or no similarity to the prototype.

It is characteristic of railway engineering that wheels and track are subject to a number of critical dimensions, disproportion in any one of which will render the rest unworkable. Perhaps as a result of the unprototypical train sets which introduced many of us to the hobby, modellers are largely unaware of, or have failed to understand, the importance of accuracy in wheel and track dimensions.

A wheel with a flange of greater than the prototype's equivalent effective flange width automatically prevents the use of prototype equivalent track settings. This is because the flangeway at the crossings and behind the switch blades has to be made wider than scale, so setting off a chain of dimensional modifications. As Protofour is the only 4mm scale modelling system in which a scale reproduction of the prototype tyre and rail head contours is used, it is thus the only system which permits the use of scale flangeways and scale track settings.

The development of the Protofour table of dimensions, the curvature limits for model track, track characteristics and track assembly techniques, and similar Protofour developments were described in a series of articles in the model press in the late sixties. There has been considerable development in Protofour since that time, and with the Editor's permission, an occasional series of articles, of which this is the first, will describe these for MR readers.

This article concerns carriage and wagon wheels, and it commences with an examination of the prototype.

A prototype wheel set, or pair, comprises two wheels on an axle. With few exceptions, British railway wheels consist of either spoked or disc centres with steel tyres shrunk on to them. The wheel centre is forced on to the axle hydraulically with a pressure of some sixty tons, to a final back-to-back setting between tyres of 4 ft. 5 5/8 in., plus or minus 1/32in. This dimension has been standard since 1923.

The centres of the wheels are designed to give strength and resilience. The tyres are designed to give long service; as they wear they are re-turned at intervals to the original contour. As the tyres are removable from the centres, they may be scrapped and replaced as necessary. Tyre sections to BSS 3117 with Gibson Ring fastenings have been in general use on British stock since the first World War. Before 1923, individual companies decided for themselves the detail of the flange contour, but in 1925 agreement was reached on a standard contour which is laid down in BSS 276 and carefully adhered to, machining errors probably not exceeding 10 thou. from the specified dimensions.

The thickness of new tyres varies, and may be 2¼ - 2½ in. on wagon wheels, and 2½ -3 in. on carriage wheels. When the tyre wears to a predetermined limit, it is re-turned, and this process repeated until the tyre thickness reaches 1 5/8 in. After further wear to 1½ in. the tyre is scrapped.

The width of tyres varies according to purpose, and is normally 5 in. to 5½ in. for carriage and wagon wheels. The Gibson ring fastening prevents lateral movement of the tyre, and in the event of tyre breakage, holds it in place on the wheel.

The dimensions and design of wagon wheels have remained largely unchanged from the turn of the century, although tyres were only 2 in. thick in early days. The wrought iron solid-spoked or open-spoked centres were forged from separate components, the spokes being sandwiched between iron discs pressed together at welding temperature to form the boss.

The earlier practice of casting bosses on to the spokes had been discontinued by the time of the first World War. By the same time, cast steel centres were in general use, necessitated by the increased speeds and loadings of the trains.

In 1848, R. C. Mansell, one time Carriage and Wagon Superintendent of the South Eastern Railway, patented a disc wheel design which became standard for most passenger and some goods stock until the arrival of the steel disc wheel in modern times. Mansell wheels ran more quietly than iron wheels and were very reliable; the tyres could be run down to 1in. tread thickness with safety. The sixteen segments of seasoned teak were secured with iron rings and bolts and fitted to wrought iron bosses, the assembly being tightly compressed by the tyre, which was shrunk on from black heat. Later, copper bonding was fitted between tyre and boss to form an electrical path through the wheel set for track circuiting purposes. Mansell wheels were often finished with white tyres, black ironwork, and varnished woodwork.

Rolled steel disc carriage wheels appeared as a consequence of increased speeds, increased weights, and high braking forces. These, and the American Monobloc wheels in which the tyre and centre were forged as one piece, were in use before the first World War on suburban electric stock and brake vans where heat generated by repeated braking tended to loosen the Mansell wheel tyres. The sections of the disc and Monobloc wheels given in the current British Standards are virtually the same as those used in 1923.

Axles used for carriage and wagon stock are similar and are almost invariably mounted in outside axleboxes with 6ft. 6in. spacing between centres. The bearings were usually semicircular with grease lubrication, or oil for carriages and later wagons. Only in recent times has the roller bearing found general acceptance.

In translating the prototype wheel to model form, the following characteristics need to be retained:

1. Concentric tread of correct contour.
2. True running of the wheel on the axle.
3. Maintenance of the correct BB gauge.
4. Authentic appearance.
5. Low friction coefficient of wheel to rail and axle to bearing.
6. (for model purposes) Electrical insulation of wheel from axle.

Unfortunately, no commercial wheel sets fulfil all these requirements, and the MRSG therefore had to undertake the design of new axles and wheels for Protofour operations.

The dimensions of carriage and wagon wheels are fairly constant. Wagon wheels are usually 3 ft 1½ in. over tread, while Mansell, L.M.S. and G.W.R. standard carriage wheels are 3 ft 7½ in. over tread, S.R. and B.R. wheels being 3ft 6in. The latest B.R. stock is fitted with 3ft 0in. wheels, and L.T.B., the odd man out , uses spoked wheels of 3ft and 2ft 6in. diameter, with heavier spokes and tyres of non-standard flange contour.

It is clear that the use of only two standard tyres of 3 ft 1½ in. and 3 ft 7½ in. equivalent diameter enables a very wide range of carriage and wagon wheels to be represented. Initial production wheels were run with great success on a Protofour layout at the Model Railway Club Show in August 1969. Since then, the range has been extended, and the centres are now produced in a dark grey material which generally requires no painting. There is no question that steel is by far the best material for wheel tyres, giving a superb quality of roll, in addition to an authentic appearance. This outweighs the tendency to rust if the vehicles are left in a damp atmosphere, as the correct protective measures and proper storage easily counteract this problem. The roll-ability of the wheels is enhanced by the use of coned brass bearings, and such is the quality of roll that a puff of wind is sufficient to set vehicles moving on level track. Gravity shunting becomes a practical possibility of the Protofour system, and the spectacle of a loose-coupled train closing up on a favourable gradient is one not to be missed.

In conjunction with improved performance, the new wheels set a high standard of appearance. Mansell wheels detailed down to the last bolt head, split spokes with the daylight showing between them, and finely dimensioned solid spokes are setting new standards for authenticity. Trackside photography at normal viewing angles and distances has always been avoided in the past, owing to the disproportion of the wheels and track; now it is the best and possibly the most rewarding form of model photography.

However, we are entering the field of vehicle suspensions which is the subject of a later article.

The Protofour axle for carriage and wagon wheels was designed with standard points at 26 mm spacing, to enable it to fit most types of outside axlebox. Initially, plated brass and turned steel disc wheels were produced, pressed on to axles using an insulated bush. These wheels ran beautifully, but the production technique could not be applied to spoked or Mansell wheels, and research continued. A satisfactory wheel should have hardness, resilience, dimensional stability and insulating properties. Unfortunately, non-metallic materials are unsuitable for use as wheel treads, but if they were fitted with steel tyres, and given full centre details, a really excellent result could be expected. The search led inevitably to modern plastics, and a moulding process.

The wheel design stabilized rapidly. A wheel centre would be moulded with full detail, force-fitted into a steel tyre, and the wheel force-fitted on the axle.

Photo-1s.jpg (15708 bytes)

Photo-2s.jpg (14825 bytes)

1 Midland Railway Mansell type wheel. Detail from an official British Rail photograph. 2       Protofour Mansell type wheel fitted to a Ratio carriage model. (Model by Mervyn Deighton Protofour Society)

Photo-3s.jpg (17041 bytes)

Photo-4s.jpg (18075 bytes)

3 Southern Region standard carriage fitted with earlier B.R. bogie. 4 Kitmaster carriage model fitted with Triang bogie and Protofour 3 ft 72 in. wheels. The Triang bogie is deeper than scale and as with all Triang vehicles, the buffer centreline is too high above the rail.

Photo-5s.jpg (14753 bytes)

Photo-6s.jpg (15065 bytes)

5 A.C.E.S. 20 ton private owner wagon registered by the L.N.E.R. in 1938, in the Central wagon breaking-up yard in 1963. Typical open-spoked wheel sets in the foreground. (wagon colour red oxide, white letters, black shading.) 6 Ratio L.M.S. van fitted with Protofour wheels and drawgear.

Photo-7s.jpg (14052 bytes)

Photo-8s.jpg (13271 bytes)

7 Triang open wagon fitted with Protofour wheels. The overscale depth of the frame is clearly seen. 8 Midland & Great Northern dropside wagon fitted with Protofour open-spoked wheels and scale drawgear. The underframe of this vehicle and the wagon in photograph No. 7 are of similar dimensions.

Photo-9s.jpg (16825 bytes)

Photo-10s.jpg (13668 bytes)

9 Solid spoked wheels fitted to a much-corroded private owner's British Soda wagon. 10 Another British Soda wagon fitted with open-spoked wheels.

Photo-11s.jpg (11636 bytes)

Photo-12s.jpg (11307 bytes)

Photo-13s.jpg (10552 bytes)

11 B.R. standard bogie showing the method of suspension ot springs and axieboxes. Compare with photograph No. 3. 12 Protofour 3-hole disc wheels, showing the pointed ends of the standard axle 13 Protofour open-spoked wheels and scale drawgear fitted to a private owner s wagon. Compare to photographs 9 and 10 above.

Copyright - Model Railway Study Group, reproduced with permission.

Back to Magazine Index,  Back to Site Index.

K Norgrove 25/04/03